“在重慶(Chung-king)城待的時間有點長,讓我生出強烈的渴望,想要呼吸一點新鮮空氣。由重慶通往各地的大路中,有一條從長江右岸的海棠溪(Hai-tang Chi),通往貴州(Kwei Chou)境內的桐梓縣(Tung-tsz Hien),我迫切地想要開啟這段旅程。”——莊延齡(Edward Harper Parker,1849~1926)
項目區位與背景
重慶江津四麵山鎮——“因四麵山峰圍繞,溝穀縱橫,皆為大山而得名。”
∇ 地圖區位
∇ 場地分析
國內著名民宿品牌大樂之野在西南地區的第一家山居民宿,就選址在這四麵群山環繞之中,空崆建築受邀為項目進行了整體設計,希望通過這個項目讓人們重新認識這片隱秘的美好之地。業主希望在項目中安排24間客房,並希望大部分客房能夠有獨立的私湯泡池以滿足當地全年度假的需求。還需要配置足夠大的餐廳、咖啡吧、茶室、泳池、廚房、布草、員工宿舍、停車位等配套設施。
建築-山-人的關係
項目地塊位於一個開口朝西的U型大山坳中,落位於半山,坐東朝西,可觀遠山落日。原始場地上有若幹戶山民老宅,山民搬遷後,利用老宅的宅基新建民宿,建築位置並無更改。而昔日山民在半山上開墾的梯田,種下的果樹,都保留下來成為了我們整個場地內的人工-自然景觀。
∇ 建築結構及室內空間軸測拆解
我們根據山地形態地貌和建築基地落位,規劃設計了觀山、倚山、隱山三組建築,在建築與山體的這三種關係下, 通過建築和空間的設計引導,為人與自然建立新的互動關係,讓人在建築和空間的遊走中,獲得與自然交流和對話的新視角和新體驗,形成了人與山之間關係的重構。
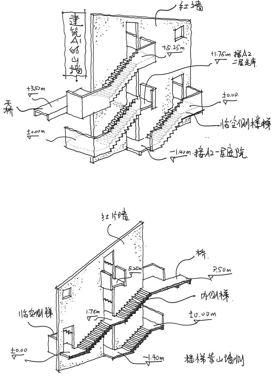
∇ 多跑折返樓梯草圖
而在建構策略上,我們從尊重地形與氣候出發,盡量利用原始宅基和吊腳樓吊層原理,減少山體土方開挖,保留了場地內的大部分巨石和樹木,並納入到與建築空間的對話中。
∇ 各類屋簷構造研究草圖
例如:利用輕薄而出挑深遠的大屋麵,可以在多雨環境中對建築的牆麵與基礎進行最大限度的保護,避免雨水衝刷和濺水侵蝕,極大的延長建築壽命。
∇ 隱山房私湯庭院及對景研究草圖
同時,我們也在建築設計中設置了大量的灰空間,一方麵也讓建築群內部的通風采光都更為良好,一方麵也提供足夠多的可供人全天候活動的空間。
我們也優先考慮就地取材,利用本地毛石砌築擋土牆,而用紅砂岩塊石作為建築基座和欄杆、踏步的材料;並將回收的老木頭,老石條,老石板,大酒罐子等運用到了建築及景觀當中。
∇ 建築單體模型
∇ 公區入口層及部分客房平麵
∇ 立麵圖
項目信息
項目名稱: 大樂之野 · 重慶 · 四麵山
項目地址: 重慶市江津區四麵山鎮
業主:重慶江津區大樂之野酒店管理有限公司
規劃/建築/景觀/室內整體設計:空崆建築
主持建築師:甘泉
設計團隊:樂豐、珮均、孫希、楊長青
建築方案深化設計:Wish studio 緯式設計
設計團隊:董大偉、翟開成、徐峰山
結構與機電顧問:劉濤、顏兆軍
軟裝團隊:大樂之野設計部
施工單位:上海野有築裝飾工程有限公司
施工負責:萬貽鎮、權相偉、小吳、季小祥
建築麵積:2200平方米
主要材料:毛石、紅砂岩、燒結磚、鋼結構、木結構、鎂鋁錳屋麵、石板瓦、真石漆
室內塗料:本傑明·摩爾
室內瓷磚:小火柴瓷磚
照明係統:西頓照明
設計時間: 2020.11-2021.05
施工時間: 2021.05-2023.05
攝影:唐徐國、丹丹、空崆建築、ddw










































